G80模锻D型环(带卡簧)
产品型号:
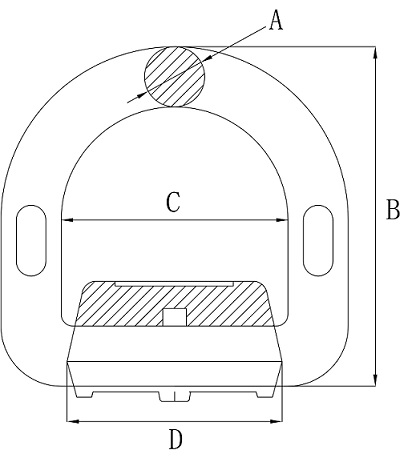
产品描述:
FEBOK INDUSTRIAL GROUP 费博克工业集团80级 模锻D型环(带卡簧),又称为焊接吊环,焊接吊点,采用合金钢锻造,特殊的热处理工艺,而且底座具有良好的焊接性能。按工作拉力的2倍进行验证测验。 抽样进行20000次疲劳测验。···
产品特点:
立即咨询咨询热线:17750010617

FEBOK INDUSTRIAL GROUP 费博克工业集团80级 模锻D型环(带卡簧),焊接吊环,焊接吊点采用合金钢锻造,特殊的热处理工艺,而且底座具有良好的焊接性能。按工作拉力的2倍进行验证测验。 抽样进行20000次疲劳测验。 对每一批次产品进行严格的抽样破断测试。 进行磁粉探伤。 表面处理:喷塑。 破断拉力是工作拉力的4倍。


*不能超过工作负荷使用。
G80模锻D型环(带卡簧)广泛应用于各种索具末端及连接件,高强度卸扣,吊钩,吊环索具螺旋扣等使之与钢丝绳,链条及合成纤维吊装带等
组合,可以形成不同形式的成套索具,以满足不同场合的吊装需要,可焊接在模具设备,钢厂设备,船舶设备,矿用设备,风电设备和其它没有
吊点的设备上。主要规格有1.12T,2T,3.15T,5.3T,8T,10T,15T和20T。
Individually proof test at 2 times Working Load Limit。
Fatiuge tested at 1.5 times Working Load Limit for20000 cycles。
Breakage twst。
magnaflux crack getecion。
Solour code:Powder plastified。
Ultimate load is 4 times the Working Load Limit。









