进口旋启式衬氟止回阀
产品型号:
产品描述:
旋启式衬氟止回阀概述止回阀(又称单向阀或逆止阀)。止回阀是依靠自身阀瓣重量及或管路中介质本身的流动产生的力而自动开启和关闭的,属于一种自动阀门。主要用于介质单向流动的管道上,只允许介质向一个方向流动,而且阻止反方向流动,防止水逆流及降低水锤···
产品特点:
立即咨询咨询热线:17750010617
旋启式衬氟止回阀概述
止回阀(又称单向阀或逆止阀)。止回阀是依靠自身阀瓣重量及或管路中介质本身的流动产生的力而自动开启和关闭的,属于一种自动阀门。主要用于介质单向流动的管道上,只允许介质向一个方向流动,而且阻止反方向流动,防止水逆流及降低水锤所造成的管线损坏。
H44F旋启式衬氟止回阀采用内装摇臂旋启式结构,通过阀瓣的自重及介质力量,使阀瓣开启或关闭。专用于控制腐蚀性或强腐蚀性介质,阀体内腔表面覆有可供选择的各种氟塑料,具有强度高、耐腐蚀性能好的特点,适用于不同工作温度和流体管路,防止各类管路或设备上的介质逆流的单向阀。
旋启式衬氟止回阀参数

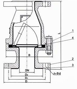
旋启式衬氟止回阀尺寸











