进口夹套质量流量计
产品型号:
产品描述:
FEBOK INDUSTRIAL GROUP 美国费博克工业集团夹套质量流量计夹套质量流量计是在流量计外侧加一层保温夹套,在夹套内注入蒸汽、导热油等高温介质,通过热传递,使流量计内的介质保持一定温度,从而计量流经管道内的液体的质量流量,实现···
产品特点:
立即咨询咨询热线:17750010617
夹套质量流量计

科里奥利力原理
科里奥利力(Coriolis effect),简称:科氏力,是对旋转体系中进行直线运动的质点由于惯性相对于旋转体系产生的直线运动的偏移的一种描述。
质量流量计是科里奥利力的典型应用,它让被测量的流体通过一个振动中的测量管,流体在管道中的流动相当于直线运动,测量管的振动会产生一个角速度,由于振动是受到外加电磁场驱动的,有着固定的频率,因而流体在管道中受到的科里奥利力仅与其质量和运动速度有关,而质量和运动速度即流速的乘积就是需要测量的质量流量,因而通过测量流体在管道中受到的科里奥利力,便可以测量其质量流量。

产品功能
K系列质量流量计可直接测量过程介质的质量流量、质量总量、体积流量、体积总量、温度、密度等。

产品参数


①密度误差包括重复性,线性度以及滞后的综合效应。±0.0005g/cm³(±0.5kg/m³)密度误差是基于水在20℃和0.1~0.2MPa的参考条件下得出的。在不同的操作条件下,可能导致准确度下降。
②额定流量是指在参考条件下水流引起的仪表压降约为0.1MPa时对应的流量。
产品优势

质量准确度高
测量误差优于±0.1%
通过对质量流量计传感器结构参数上的优化,以及数字技术在变送器上的应用,K系列质量流量计质量测量误差优于±0.1%,重复性优于±0.025%。

密度准确度高
测量误差优于±0.0005g/cm³
K系列质量流量计实现了直接在线实时测量密度,安全、方便、可靠,免除手动测量的种种弊端,提高操作人员的工作效率。

温度准确度高
测量误差优于±0.2℃
K系列质量流量计采用pt100温度传感器,配合精密测量电路和先进的温度补偿算法,为流量和密度的精准测量提供可靠保障。

零点稳定性好
保证长期稳定运行
零点稳定性是评价质量流量计的测量精度和长期稳定性的重要指标。
K系列质量流量计采用了具有国家发明专利和美国发明专利的独创技术,使得产品本身具有超高的零点稳定性,即使在恶劣的工况条件下,也能长期准确、稳定的运行。

响应时间快
适用于小批量,短时间的灌装
K系列质量流量计变送器运用数字算法,提高了采样率,极大的缩短了响应时间,保证了小批量、短时间的灌装一致性。

量程比宽
量程比可达40:1
K系列质量流量计运用数字算法,过滤掉了更多噪声,保证了低流速的测量准确性,量程比可达40:1。

使用寿命长
产品设计使用寿命为10年
传统体积流量计的齿轮、转子等部件易受流体冲刷影响,需要定期清洗或更换。
K系列质量流量计的原理决定了它内部无阻碍件和活动件,不存在磨损等问题,充分保证了质量流量计的使用寿命。
精准计量的同时大大降低了维护成本,省时、省力、省心。

其他
更多的警示功能
K系列质量流量计变送器能够测量更多的变量,实现更加准确的状态指示,例如气液两相流状态的提醒。
产品安装图
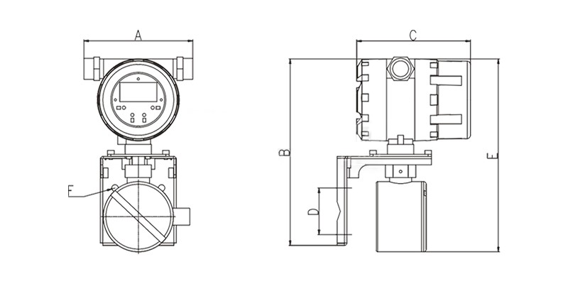
BPM-E变送器外形尺寸图 (单位: mm )

| 型号 | A | B | C | D | E | F |
|---|---|---|---|---|---|---|
| BPM-E | 166 | 284 | 174 | 71 | 294 | 4×Φ10 |
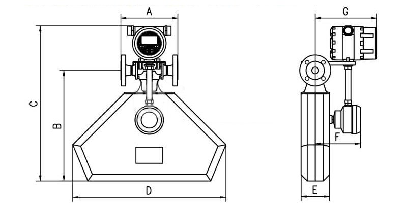
K系列质量流量计安装尺寸图(分体式)(单位: mm )

| 型号 | 规格 | A(可定制) | B | C | D | E | F |
|---|---|---|---|---|---|---|---|
| K010 | DN5/DN8/DN10/DN15/DN20/DN25 | 345-355 | 183 | 216 | 54 | 137 | 84 |
| K015 | DN10/DN15/DN20/DN25 | 345-355 | 183 | 216 | 54 | 137 | 84 |
| K025 | DN15/DN20/DN25 | 161-165 | 219 | 279 | 53 | 135 | 107 |
| K050 | DN15/DN20/DN25 | 189-193 | 303 | 408 | 64 | 140 | 169 |
| K100 | DN25/DN32 | 212-216 | 412 | 568 | 106 | 167 | 185 |
法兰标准采用GB/T 9115-2010 ,HG/T 20592-2009.
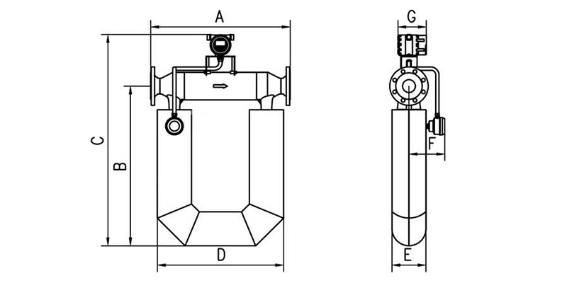
K系列质量流量计安装尺寸图(一体式)(单位: mm )

| 型号 | 规格 | A(可定制) | B | C | D | E | F | G |
|---|---|---|---|---|---|---|---|---|
| K100 | DN25/DN32 | 212-216 | 412 | 578 | 568 | 106 | 167 | 229 |
法兰标准采用GB/T 9115-2010 ,HG/T 20592-2009.

| 型号 | 规格 | A(可定制) | B | C | D | E | F | G |
|---|---|---|---|---|---|---|---|---|
| K200 | DN40/DN50/DN65 | 582-596 | 727 | 1003 | 496 | 140 | 186 | 174 |
| K300 | DN80/DN100 | 836-866 | 976 | 1292 | 768 | 208 | 220 | 174 |
| K350 | DN100/DN125/DN150 | 830-876 | 841 | 1150 | 718 | 212 | 222 | 174 |
| K400 | DN150/(DN175)/DN200 | 990-1056 | 1095 | 1391 | 860 | 300 | 260 | 174 |
| K600 | DN200/(DN225)/DN250 | 1004-1090 | 1211 | 1578 | 850 | 379 | 305 | 174 |
| K800 | DN200/(DN225)/DN250/DN300 | 1004-1090 | 1326 | 1693 | 850 | 410 | 321 | 174 |
| K1200 | DN250/DN300/DN350 | 1090-1130 | 1641 | 2008 | 850 | 506 | 369 | 174 |
法兰标准采用GB/T 9115-2010 ,HG/T 20592-2009.









