进口带远传玻璃转子流量计
产品型号:
产品描述:
FEBOK INDUSTRIAL GROUP 美国费博克工业集团概述:远传型转子流量计,测量管材质有PC和高硼硅玻璃二种,PC材质适用于非腐蚀性,非溶剂性介质,最高工作压力4.0MPa,高硼酸玻璃使用于腐蚀性介质,耐压等于G/R/F。此远传···
产品特点:
立即咨询咨询热线:17750010617
带远传玻璃转子流量计

FEBOK INDUSTRIAL GROUP 美国费博克工业集团远传型转子流量计,法兰连接、螺纹连接、卡箍连接满足客户各种连接方式
概述:
LZB系列远传型转子流量计,测量管材质有PC和高硼硅玻璃二种,PC材质适用于非腐蚀性,非溶剂性介质,最高工作压力4.0MPa,高硼酸玻璃使用于腐蚀性介质,耐压等于G/R/F。此远传型转子流量计连接方式有螺纹、软管、法兰、卫生卡箍型等。该系列产品体积小,结构轻巧,外形美观,维修方便,安全可靠,安装简单,测量精度高,压损小,重复性好等优点。
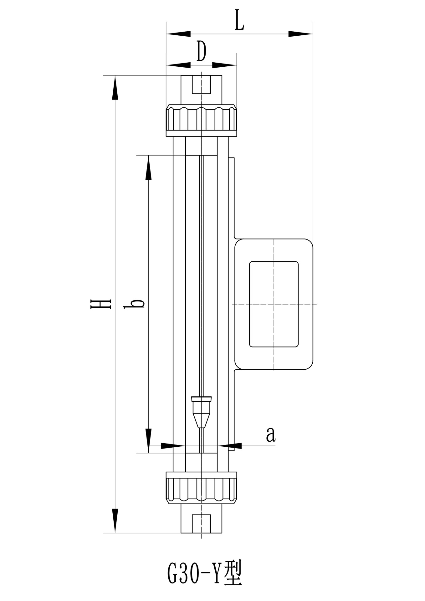
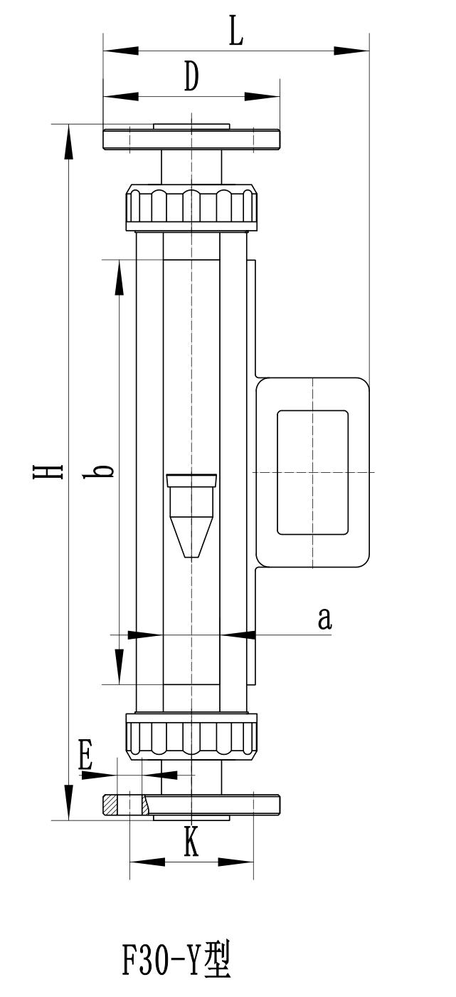
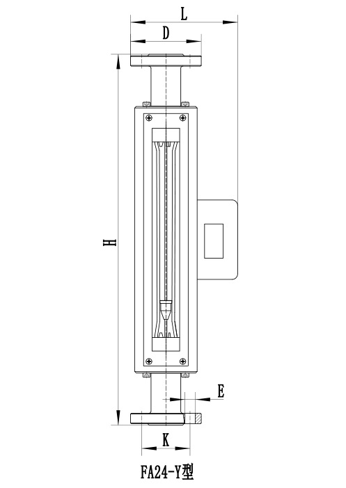
外形及安装尺寸




安装尺寸表: 单位:(mm)
型号规格:
技术参数:
安装与使用
安装
1、在安装前,应先检查技术参数如:测量范围、准确度等级、额定压力、温度参数是否符合使用要求;
2、流量计安装前应仔细检查浮子测量边沿有无损伤,带导杆的流量计应将运输中防止浮子晃动的填充物取出,并检查锥管有无破损,浮子能否自由上下移动,确定正常方可安装。
3、流量计应安装在垂直位置上(流量计中心线与铅锤线的夹角≦5°)并有可靠支承,不应受到来自管道的任何张力和压力。新装管道,应将管道冲洗干净后安装流量计。被测流体从流量计下端进上端出。注意:任何流量计切勿持在手中使用!
4、流量计的上端(进口端)应有5~10倍公称通径的直管段,强烈建议在流量计旁装旁路管道。
5、被测流体中不可混有大颗粒污物,否则会使浮子卡住或堵塞流量计通路,视需要在流量计要在流量计上游安装过滤器。
6、被测流体压力必须稳定,流体压力不稳定会造成浮子波动,不能准确测量,流量计上游应设置缓冲器或定值器。
7、管路中有倒流,特别是水锤作用的,为防止损坏流量计应在流量计下游阀门之后安装单向止回阀。
8、如被测液体含有气泡,应在流量计上游设置排气口。
使用
1、应缓慢开启流量计上游的阀门,防止浮子突然上冲,损坏玻璃管,然后用下游调节阀调节流量,停止工作时,先关闭上游阀门,然后关闭下游调节阀。建议在流量计外面包一圈金属网以加强安全防护。
2、应避免被测流体的温度急骤变化。
3、使用中如发现流量计有渗漏,一般是密封圈失效,应更换。
4、当锥管和浮子沾污,应及时清洗。
5、定期检查流量计的误差,一旦超出规定误差,应调换浮子和锥管,或重新标定。
6、被测流体和状态(温度、压力)与流量计上的标尺和状态不一致时,须对示值按被测流体和状态进行修正(包括密度、温度、压力等),才能得到正确的流量。
7、若要想得到准确的测量精度,建议被测流体的常用流量应在转子流量计分度流量的60%以上最好。
8、测量腐蚀性流体应选用耐腐蚀系列流量计。
9、远传型流量计严禁带电开盖。










