进口差压孔板流量计
产品型号:
产品描述:
FEBOK INDUSTRIAL GROUP 美国费博克工业集团产品概述 / product introduction差压式孔板流量计是标准孔板与多参数差压变送器(或差压变送器、温度变送器及压力变送器)配套组成的高量程比差压孔板流量计,可测···
产品特点:
立即咨询咨询热线:17750010617
差压孔板流量计

产品概述
/ product introduction
FEBOK INDUSTRIAL GROUP 美国费博克工业集团差压式孔板流量计是标准孔板与多参数差压变送器(或差压变送器、温度变送器及压力变送器)配套组成的高量程比差压孔板流量计,可测量气体、蒸汽、液体及天然气的流量,广泛应用于石油、化工、冶金、电力、供热、供水等领域的过程控制和测量。
产品简介
/ product introduction差压式孔板流量计又称为差压式流量计,是由一次检测件(节流件)和二次装置(差压变送器和流量显示仪)组成,广泛应用于气体、蒸汽和液体的流量测量。具有结构简单,维修方便,性能稳定,使用可靠等特点。 孔板节流装置是标准节流件可不需标定直接依照国家标准生产,1.国家标准GB2624-81‹流量测量节流装置的设计安装和使用;2.国际标准ISO5167‹国际标准组织规定的各种节流装置;3.化工部标准GJ516-87-HK06。
产品特点
/ product characteristic●结构简单、牢固,性能稳定可靠,使用期限长,价格低廉;
●应用范围广,全部单相流皆可测量,部分混相流亦可应用;
●标准型节流装置无须实流校准,即可投用;
● 一体型孔板流量计安装更简单,无须引压管,可直接接差压变送器和压力变送器;
●采用进口单晶硅智能差压传感器;
●采用进口单晶硅智能差压传感器;
●高精度,完善的自诊断功能;
●其量程可自编程调整;
●其量程可自编程调整;
●可同时显示累计流量、瞬时流量、压力、温度;
●具有在线、动态全补偿功能外,智能孔板流量计还具有自诊断、自行设定量程;
●配有多种通讯接口;
●量程范围宽、大于10:1。
技术参数
/ technical parameters一、用途、特点及使用范围
1、用途:节流式差压流量计由三部分组成:节流装置、差压变送器和流量积算仪。节流装置是直接安装于管道上的一次元件,差压变送器和积算仪属于二次元件。它主要用于流经管道各种气体(纯净的或含粉尘的)、蒸汽(饱和或过热)和液体(导电或不导电;强腐蚀性;粘稠或含有微小颗粒脏污)流量。可直接测量体积流量或质量流量。
1、用途:节流式差压流量计由三部分组成:节流装置、差压变送器和流量积算仪。节流装置是直接安装于管道上的一次元件,差压变送器和积算仪属于二次元件。它主要用于流经管道各种气体(纯净的或含粉尘的)、蒸汽(饱和或过热)和液体(导电或不导电;强腐蚀性;粘稠或含有微小颗粒脏污)流量。可直接测量体积流量或质量流量。
2、差压式流量计(标准孔板)的使用条件、特点及适用范围
a、使用条件:
1、在测量段,流体必须充满圆管,并连续不断地流经节流装置;
2、流体在物理上和热力学上必须是均匀的单相流体;
3、节流装置所测得流体必须是稳定流,或可看作是稳定的缓慢变化的流体,不适用于脉动流和临界的流量测量;
b、特点及适用范围:
1、标准节流装置无须实流标定即可保证其测量精度。(在所有流量计中是唯一的);
2、适用被测介质非常广泛,几乎可用于所有气体、蒸汽和液体的流量测量;
3、适用直径比β为0.22~0.75,雷诺数ReD≥5000 管道直径DN50~1000mm,允许外推到5000mm。β=d/D,d—孔板开孔直径;D—管道实际内径
4、使用压力可高达32MPa,也可用于负压;
5、介质温度范围:-30℃~+650℃;
6、智能型差压式流量计采用智能差压变送器,可根据被测对象流量的变化,通过按键或通讯方式现场设定差压值(规定范围内),从而改变流量范围,使系统流量范围度大大拓宽;
7、无可动部件,机构安全可靠,使用、操作简单、易掌握,免维修;
根据中华人民共和国国家标准GB/T2624-93 和国际标准ISO5167-1 规定,节流装置适用的流量量程比为3(即最大与最小适用流量之比),在个别情况下允许量程比为4,如果量程比大于上述值,则在使用同一台差压计时在小流量时的测量误差很大。
二、分类①按法兰夹装方式分类
1、焊接式 2、法兰夹装式
②按取压方式分类
1、角接钻孔取压; 2、角接环室取压 3、法兰取压; 4、径距取压;
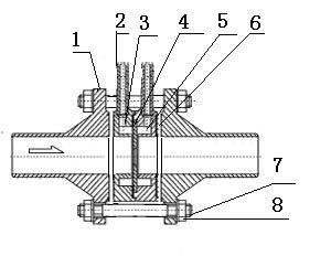
三、结构及简图
① 图 1标准环室孔板节流装置结构图
1、法兰 2、导压管 3、前环室 4、节流件 5、后环室 6、密封垫片 7、螺栓 8、螺母


②图2各种标准孔板结构图


产品选型
/ product selection1、选型表


2、安装技巧
1、核准参数:安装前务必先核准现场工况条件,确认节流装置计算书的所有参数与安装点工况条件参数完全相同后,才可进行安装,否则必须进行必要的修正或补偿。
2、方向:节流装置的孔板提柄上或法兰外圆面上分别有“+”、“-”号,“+“为上游侧(迎着流体过来的方向),不得装反。
3、插入深度:环室取压孔板,插入深度为管道与环室之间距离为2~5mm,但不能将管道顶到环室,否则管道受热膨胀便会顶坏环室。钻孔取压孔板,突入孔板内的管道,任何一点不得挡住取压孔。
4、系统吹扫:节流装置安装完毕既应吹扫,此时应先将节流件(孔板片)拆下,以免管道内杂物刮伤孔板片或堵塞引压管,待吹扫完成后再装好,方向为流体流动方向与孔板上的箭头同向。注意拧紧以保证密封。
5、调零:吹扫安装完成后,将三阀组中间阀开启,此时差压值应为零,如果不是,就必须要归零,方法是按住左下角按键不动20秒钟,松开后即可。
6、最后将三阀组中间阀慢慢关闭(必须关严),正负引压管上部的截止阀全部开启,孔板即可正常工作。
7、安装同轴度要求:节流件与管道必须同心,偏心距离不大于0.0025D,用户在焊接操作时应予注意或采取必要的措施。
8、孔板一般都要配合差压变送器使用,导压管与差压变送器连接时要注意正负压不要装反,“H”为正,“L”为负;
9、正负取压口引出的导压管在任何情况下都要保持平行;
10、如必须装调节阀,则建议最好把调节阀装在下游计算书上要求的直管段长度之后。
11、被测介质为气体或蒸汽且温度和(或)压力有较大波动时,应进行温度和(或)压力补偿。压力变送器装设在上游1D处,热电偶装设在下游1D处。
12、在差压讯号管线上不得有可能积留液体或气体的袋形空间,如不能避免时,应装设集气器(或排气阀)和沉降器(或疏水器)。
13、变送器零点漂移也会引起测量误差,使用过程中应定期对差压变送器进行校准。
14、除须经常对导压管进行检查,以防堵塞外,对室外的导压管应予适当保温,以防凝固或冻结。如管线(垂直段)相当长,应避免由于温差导致的虚假压差,此时建议把两根差压管线靠近敷设并一起包在保温层内。
15、差压管线应有支架,以避免振动和有力作用在差压计上。
16、节流装置现场吊装时,严禁用铁丝、钢丝、吊钩穿入节流件喉部孔径,以防止锐口损伤,影响精度;
17、节流装置使用一段时间后,由于液体中有固体颗粒,气体中有液体小滴或其它杂质,尖锐的入口将被磨钝,从而使流出系数增大,造成附加误差,此时应考虑调换节流件;另外,节流装置长期使用后,在孔板上游侧下角容易堆积污物,这会使流出系数变化,因此要定期检查,排除污物。
18、导压管:导压管的材质应按被测介质的性质和参数而定,其内径过小和长度太长会使信号严重滞后或失真,建议参照表(1)确定。
表(1)

表(1)










