进口插入式涡街流量计
产品型号:
产品描述:
FEBOK INDUSTRIAL GROUP 美国费博克工业集团智能涡街流量计是以卡门涡街原理为依据来测量蒸汽、气体及粘度液体的流量。它是一种具有国际先进水平的新型流量计,具有 其他流量计不可兼得的优点,将在未来流量仪表中占主地位,是孔板流···
产品特点:
立即咨询咨询热线:17750010617
插入式涡街流量计

FEBOK INDUSTRIAL GROUP 美国费博克工业集团简单介绍:
LUGB智能涡街流量计是以全新的设计理念,将温度、压力、流量信号集于一体,通过智能数字处理器将三种信号混合处理后输出一个补偿后的标准流量,从而实现了对气体、蒸汽的温压补偿功能。由于采用了智能一体化的设计理念,因此,LUGB温压补偿智能型涡街具有结构紧凑、安装使用维护方便的特点。
详情介绍:
LUGB系列智能涡街流量计
一、智能涡街流量计概述
智能涡街流量计是基于卡门涡街原理而研制的--种具有国际先进水平的新型流量计。由于它具有其它流量计不可兼得的优点,自七十年代以来得到了迅速发展,据在关资料显示,现在日本,欧美等发达国家使用智能涡街流量计的比例大幅度上升,已广泛应用于各个领域。将在未来流量仪表中占产导地位,是孔板流量计最理想的替代产品。智能涡街流量计适用于测量过热蒸汽、饱和蒸汽、压缩空气一般气体、水和液体的质量流量和体积流量。
FEBOK INDUSTRIAL GROUP 美国费博克工业集团生产的LUGB型智能涡街流量计,有远传型,现场显示型,温压自动补偿型。可广泛应用于化工、石油、冶金、轻工、环保、市政、电力等部门。
产品有以下特点:
1、结构简单牢固,无可动部件,可靠性高,长期运行十分可靠。
2、安装简单,维护十分方便。
3、检测传感器不直接接触被测介质,性能稳定,寿命长。
4、测量的是与流量成正比的脉冲信号,无零点漂移,精度高。
5、测量范围宽,量程比可达1: 10。
6、压力损失较小,运行费用低,更具节能意义。
7、采用超低功耗技术,电池供电可运行两年以上。
8、温压补偿一体化设计,同时显示流量值与累积流量值,温度、压力值,不必轮流切换。
二、智能涡街流量计结构与工作原理
涡街流量计产品细节

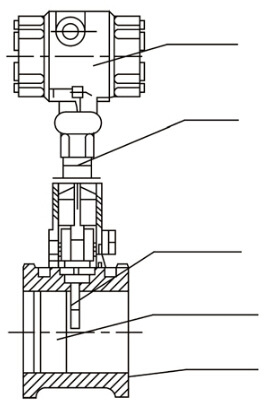
1、LUGB智能涡街流量计的结构,见(图1):

2、工作原理
介质以一定流速流过三角柱体时,在三角柱体两端后产生一个交替的旋涡带,称之为“卡门涡街”(图2),于是在发生体两端产生压力脉动,从而使检测体产生交变应力,封装在检测探头体内的压电元件在交变应力的作用下,产生与旋涡同频率的交变电荷信号,放大器将这种电荷信号进行放大、滤波、整形成方波送至积算仪进行处理和显示。在一定雷诺数范围内(2X104~7x106)旋涡的释放频率f与流速V及旋涡发生体的迎流面宽度d之间的关系可用下式表示: f=Sr.v/d, 式中: Sr为斯特劳哈尔数,在曲线的Sr=0.16的平直部分只要测出旋涡频率f就可测出流体流速。从而达到测量流体流量的目的。(图3)

三、智能涡街流量计技术参数
★测量介质:液体、气体、过热/饱和蒸汽
★测量范围:正常工作范围,雷诺数为20,000~ 7, 000, 000;测量可能范围雷诺数为8, 000 ~ 7, 000,
★准确度:a.液体,指示值的+1.0%;
b.气体,指示值的+1.5%;
c.蒸汽,指示值的土1.5%;
★重复性:准确性的1/3;
★输出信号:a. 三线制电压脉动 低电平; 高电平:大于4V:占空比50%
b.二线制电流4mA ~ 20mA
c.三线制电流4mA ~ 20mA
d.RS-485通讯接口
★工作电源:外电源; +24VDC;内电源3.6V锂电池
★介质温度:普通型: -40℃~ +130℃;
高温型: -40℃~ +250℃;
特高温型:-10℃~ +350℃可选;
防爆型: -40℃~ +80℃;
★工作压力:2.5MPa(注: 应用户要求,可提供其它压力等级的流量计,需定做)
★大力压力: 86KPa ~ 106KPa;
★壳体材质:a.碳钢;b.不锈钢(1Cr18Ni9Ti)
★规格(管道内径):20、25、32、40、50、65、80、100、125、150、200、250、300
★环境温度: -30℃~ +60℃
★相对温度: 5% ~ 95%
★保护等级: IP65
★防爆类型:隔爆型;防爆标志:Exd I BT4
★工作状况下流量范围(单位: m3/h)
无线远传型
◆网络优,搭载Cat-1网络,10Mbps下载,5Mbps上传,满足80%的数据传输应用 场景;
◆延迟低,4G网络承载,毫秒级延时体验;覆盖广,基于现有运营商4G网络,稳 定性高;
◆双卡单待,内置贴片SIM卡,可免插卡使用;配合外置卡槽实现双卡切换,联 网有保障;
◆选用RS485串口,支持5~16V宽电压供电,适配更多应用场景;
◆具有体积小,便安装; 数据量小,每月数据流控制在100M左右;
◆支持网络透传模式、HTTPD 模式、短信透传模式三种模式,可发送中英文短信;
◆网络透传模式拥有 4 路独立 socket,支持各路 socket 备份,支持KEEP-ALIVE 机制,增强连接稳定性;
◆每路连接支持 20 包数据缓存,每包数据***大 4K,支持注册包,心跳包数据;
◆网络优,搭载Cat-1网络,10Mbps下载,5Mbps上传,满足80%的数据传输应用 场景;
◆延迟低,4G网络承载,毫秒级延时体验;覆盖广,基于现有运营商4G网络,稳 定性高;
◆双卡单待,内置贴片SIM卡,可免插卡使用;配合外置卡槽实现双卡切换,联 网有保障;
◆选用RS485串口,支持5~16V宽电压供电,适配更多应用场景;
◆具有体积小,便安装; 数据量小,每月数据流控制在100M左右;
◆支持网络透传模式、HTTPD 模式、短信透传模式三种模式,可发送中英文短信;
◆网络透传模式拥有 4 路独立 socket,支持各路 socket 备份,支持KEEP-ALIVE 机制,增强连接稳定性;
◆每路连接支持 20 包数据缓存,每包数据***大 4K,支持注册包,心跳包数据;
| 描述 | 涡街流量计 (电池供电无线远传式) |
| 支持移动 LTE Cat-1 | |
| 支持联通 LTE Cat-1 | |
| 支持电信 LTE Cat-1 | |
| 供电范围 5V~16V,推荐值 12V/1A | |
| 平均 67mA, ***大:289mA(12V) | |
| 卡 1:普通 SIM 卡(小卡),可插入到产品外置卡槽; 卡 2:产品内置贴片卡,出厂免费赠送流量,可续费。 | |
| 预留 USB 接口,暂不开放。 | |
| SMA 外螺内孔 | |
| -25℃~ +75℃ | |
| -35℃~ +85℃ 注:当设备工作在扩展温度范围时,设备仍能保持正常工作状态, 具备语音短信和数据传输等功能;不会出现不可恢复的故障;射频频谱、网络基本不受影响。仅个别指标如输出功率等参数值可能会超出 3GPP 标准的范围。当温度返回至正常温度范围时,设备的各项指标仍符合 3GPP 标准。 | |
| -40℃~ +85℃ | |
| 5%~95%(无凝露) | |
| 3GPP Release 13 CAT1 下行 7.5 Mbps,上行 1 Mbps | |
| 3GPP Release 13 CAT1 下行 10 Mbps,上行 5 Mbps | |
| Band 34/38/39/40/41 | |
| Band 1/3/5/8 | |
| +23dBm(Power class 3) | |
| +23dBm(Power class 3) | |
| 特色功能 | 域名解析 DNS | 支持 |
| 简单透传方式 | 支持 TCP Client /UDP Client | |
| 心跳数据包 | 支持自定义心跳包/SN 心跳包/ICCID 心跳包/IMEI 心跳包/LBS | |
| 注册包机制 | 支持自定义注册包/SN 注册包/ICCID 注册包/IMEI 注册包 | |
| 套接字分发协议 | 支持 | |
| FOTA 升级 | 支持 | |
| Socket 备份 | 支持 | |
| 基站定位 | 支持 | |
| FTP 他升级协议 | 支持 | |
| 安全机制 | 支持 | |
| NTP 校时功能 | 支持 | |
| 蓝牙连接 | 微信扫描产品上的二维码,进入我司的微信小程序即可通过蓝牙连接进行产品参数设置、串口调试、一键检测等操作 | |
| 双 SIM 卡切换 | 支持外置卡优先模式、双卡备份模式、单卡锁定模式 |

四、智能涡街流量计基本结构和安装尺寸
流量计由表体、支柱和放大显示装置组成。有两种与管道连接的方式,即法兰卡装方式和法兰连接方式。图2为法兰卡装示意,图3是法兰连接示意,表1、表2为有参考尺寸。

表2法兰卡装参考尺寸(mm)

表3法兰连接参考尺寸(mm)

五、智能涡街流量计的安装
正确地选择安装点和正确安装流量计都是非常重要的环节,若在安装环节失误轻者影响测量精度,重者会影响流量计的使用寿命,甚至会损坏流量计。
5.1对直管段的要求
流量计对安装点的上下游直管段有一定要求,否则会影响测量精度。

若流量计安装点的上游有渐缩管,流量计上游应有不小于15D的等径直管段,下游应有不小于5D的等径直管段。
若流量计安装点的上游有渐扩管,流量计上游应有不小于18D的等径直管段,下游应有不小于5D的等径直管段。若流量计安装点的上游有90°弯头或下形接头,流量计上游应有不小于20D的等径直管段,下游应有不小于5D的等径直管段。
若流量计安装点的上游在同一平面上有二个90°弯头,传感器上游应有不小于25D的等径直管段,下游应有不小于5D的等径直管段。,
流量调节阀或压力调节阀尽量安装在流量计的下游5D以远处,若必须安装在流量计的上游,流量计上游应有不小于25D的等径直管段,下游应有不小于5D的等径直管段。
流量计上游有活塞式或柱塞式泵,活塞式或罗茨式风机、压缩机,流量计上游应有不小于 25D等径直管段,下游应有不小于5D的等径直管段。
特别注意:流量计安装点的上游较近处若装有阀门,不断地开关阀门,对流量计的使用寿命影响极大,非常容易对流量计造成长久性损坏。流量计尽量避免在架空的非常长的管道上安装,这样时间一长后,由于流量计的下垂非常容易造成流量计
与法兰间的密封泄漏,若不得已安装时,必须在流量计的上下游2D处分别设置管道紧固装置。
5.2、对配管的要求
流量计对安装点的上下游直管段有一定要求,否则会影响测量精度。
流量计安装点的上下游配管的内径应与流量计内径相同,其应满足下式的要求。
0.98DN≤D≤1.05DN式中:DN-流量计内径
D-配管内径
配管应与流量计同心.同轴偏差应不大于1.05DN。
流量计与法兰间的密封垫不能凸入管道内,其内径可比流量计内径略大
5.3、对方管道的要求
为方便检修流量计,最好为流量计安装旁通管。另外,在需清洗的管道上: 或所安装流量计的管道内的流体不能为检修流量计而停供的情况下,必须安装旁通管。

5. 4、对管道振动的要求
流量计尽量避免安装在振动较强的管道上,若不得已要安装时,必须采取减振措施,在流量计上下游2D处分别设置管道紧固装置,并加防振垫。

5.5、对外部环境的要求
流量计避免安装在温度变化很大的场所和受到设备的热辐射,若必须安装时,须有隔热通风的措施。流量计避免安装在含有腐蚀性气体的环境中,若必须安装时,须有通风措施。
流量计zui好安装在室内,必须安装在室外时,须有防潮和防晒的措施,注意水是否会顺着电缆线流入放
大器盒内,接线时,在电气接口外部将电缆线弯成U形。
安装流量计的周围须有充裕的空间,应有照明灯和电源插座,以便安装接线和定期维护。流量计的接线位置要远离电噪声,如有功率变压器、电动机和电源等。
流量计安装点附近不能有无线电收发机存在,否则离频噪声会干扰流量计的正常使用。
六、智能涡街流量计的选型
6.1仪表的正确选型是仪表正常应用的关键,实际应用中,大多的故障是由于仪表的选型不合理造成的。详细了解现场应用的工况条件及介质参数,选择合适的压力、温度、防护、防爆等级及材质、结构方式、以保证仪表能运行在zui佳状态。
6.2仪表使用的zui大流量应尽可能小于0.5Qgmax(仪表上限流量)
6.3仪表公称口径按工况zui大流量选择,如果被测流量是以标准状态(20℃,101.3kPa)流量,则需进行工况流量换算,在根据表1选择适当的口径。
(1)智能涡街流量计出厂前已按国家标准校准了流量范围,一般情况下,用户不用核算;必要时,用户可按下式核算出工况下介质流量下限值。
Qgmin=QgminX
式中: Qgmin工况条件下,拥护流量下限值:
Qgmin表1参考条件下zui小流量:
ρ tab参比条件下介质密度[液体(水)ρtab=1000 (kg/m3),气体(空气) ]ρtab= (1.205 (kg/ m3),干饱和蒸汽ρtab=2.129[ (kg/ m3) ];ρg工况条件下介质密度(kg/ m3)。
(2)气体将标准状态(101. 3kPa,20C)密度转算成工况状态下密度的计算;
ρg= pn.[(101.3+Pg)/ 101.3].[(273+20)/(273+T)]式中:pg工况条件下介质的密度(kg/ m3)
Ρn:标准状态下(101. 3kPa,20C)介质密度(kg/ m3) ;
Pg工况压力(kPa);T工况温度(℃);
(3)计算工况流量(Qg);
a)由标准状态下的体积流量计算工况状态下的体积流量:Qg=Qg (pn/ pg)
Qg=Qn.[101 .3/(101. 3+Pg)].[(273+T)/<273+20)]
式中:Qg工况流量(m3/h);
Qn标况流量(m3/h);
ρg工况条件下介质的密度(kg/ m3)
ρn标况下介质的密度(kg/ m3) ;Pg工况压力(kPa);
T工况温度(℃)
b)由质量流量计算工况的流量(Qg) ;
Qg=Qm/g
式中:Qg工况流量(m3/h);
Qm质量流量(m3/h) ;
ρg工况条件下介质的密度(kg/ m3);
(4) 当测量液体时,为防止生气穴和气蚀,管道内的实际工作压力应符合下式要求;
P≥2.7△P+1.3P1
式中:P所允许的zui小管道压力(优良压力MPa);
△P压力损失(MPa);
P1该液休工作温度下对应的饱和蒸气压力(MPa 优良压力);
△P可由下式计算:△P=1.079X 106p.v2
式中: p被测液体的密度(kg/ m3);
V被测液休的流速(m/s);
注:气体指常温常压下的空气(t=20C ,P=0. IMPa);蒸气指干饱和蒸气(t=143C ,P=0.4MPa)
七、智能涡街流量计订货须知
1、用户订购本产品时要注意根据管道公称直径、流量范围、公称压力、介质zui大压力、介质温度范围、环境条件选择合适的规格,在危险场所使用的必须注明防爆等级要求。
2、流量计一般为基本型,带工况脉冲输出,若需其它附件及输出功能,请在订货时注明。3.用户在订货时,请按照下列格式,详细正确地填写。
LUGB/E系列涡街流量计选型表
| LUG | 涡街流量计 | ||||||||||||||||||||||||
| 检测方式 | B | 压电式传感器 | |||||||||||||||||||||||
| E | 电容式传感器 | ||||||||||||||||||||||||
| 类型 | A | 涡街流量计(普通型) | |||||||||||||||||||||||
| B | 温压补偿式涡街流量计 | ||||||||||||||||||||||||
| C | 法兰对夹式涡街流量计 | ||||||||||||||||||||||||
| D | 分体式涡街流量计 | ||||||||||||||||||||||||
| E | 插入式涡街流量计 | ||||||||||||||||||||||||
| F | 卫生卡箍式涡街流量计 | ||||||||||||||||||||||||
| G | 防腐式涡街流量计 | ||||||||||||||||||||||||
| H | 螺纹式涡街流量计 | ||||||||||||||||||||||||
| I | 分流旋翼式蒸汽流量计 | ||||||||||||||||||||||||
| K | 无线远传式涡街流量计 | ||||||||||||||||||||||||
| L | 太阳能供电式涡街流量计 | ||||||||||||||||||||||||
| 安装方式 | 1 | 法兰连接型 | |||||||||||||||||||||||
| 2 | 法兰卡装型 | ||||||||||||||||||||||||
| 3 | 简易插入型 | ||||||||||||||||||||||||
| 4 | 球阀插入型 | ||||||||||||||||||||||||
| 5 | 高压焊接型 | ||||||||||||||||||||||||
| 6 | 螺纹连接型 | ||||||||||||||||||||||||
| 7 | 卡箍型 | ||||||||||||||||||||||||
| 测量介质 | 2 | 液体 | |||||||||||||||||||||||
| 3 | 气体 | ||||||||||||||||||||||||
| 4 | 蒸汽 | ||||||||||||||||||||||||
| 公称通径 | 00 ... A0 | DN25 ... (详见传感器公称通径编号对照表) DN1000 | |||||||||||||||||||||||
| 防爆型式 | □ | 无防爆 | |||||||||||||||||||||||
| B | 防爆EX | ||||||||||||||||||||||||
| 输出信号 | 1 | 脉冲输出 | 5 | 压力补偿型 | |||||||||||||||||||||
| 2 | 4-20mA | 6 | 温压补偿型 | ||||||||||||||||||||||
| 3 | 电池供电 | 7 | RS-485通讯 | ||||||||||||||||||||||
| 4 | 温度补偿型 | 8 | HART协议 | ||||||||||||||||||||||
| 介质温度 | T1 | -40~150 | T3 | -40~350 | |||||||||||||||||||||
| T2 | -40~250 | T4 | -40~450 | ||||||||||||||||||||||
| 压力规格 | N1 | 1.6mpa | N3 | 4.0mpa | |||||||||||||||||||||
| N2 | 2.5mpa | N4 | 高压定制 | ||||||||||||||||||||||
| 供电方式 | 1 | DC24V | 4 | 电池+DC24双供电 | |||||||||||||||||||||
| 2 | AC220V(配电源转换器) | 5 | 太阳能供电 | ||||||||||||||||||||||
| 3 | 电池供电 | ||||||||||||||||||||||||
| 上限流量 | (n) | 上限流量(量程)m3/h | |||||||||||||||||||||||
| 阀体材质 | 1 | 不锈钢304 | |||||||||||||||||||||||
| 2 | 不锈钢316 | ||||||||||||||||||||||||
| 测量精度 | 1 | 1.5级 | |||||||||||||||||||||||
| 2 | 1.0级 | ||||||||||||||||||||||||
| 公称通径DNmm | 15 | 20 | 25 | 32 | 40 | 50 | 65 | 80 | 100 | 125 | 150 |
| 标记号 | 00 | 01 | 02 | 03 | 04 | 05 | 06 | 08 | 10 | 12 | 15 |
| 公称通径DNmm | 200 | 250 | 300 | 350 | 400 | 450 | 500 | 600 | 700 | 800 | |
| 标记号 | 20 | 25 | 30 | 35 | 40 | 45 | 50 | 60 | 70 | 80 | |
| 插入式公称通径DNmm | 200 | 300 | 400 | 500 | 600 | 800 | 1000 | 1200 | 1500 | ||
| 标记号 | A0 | A1 | A2 | A3 | A4 | A5 | A6 | A7 | A8 |
智能涡街流量计安装示意图














